财经动态 金融行业 白酒行业 医药行业 新能源 IPO观察 上市公司 区域经济

华软科技业绩对赌“压力山大”,3年2换审计机构意在何为?

作者:徐川 | 2023-03-23 | 浏览量:414103


作者| 胜马财经 徐川

编辑| 欧阳文


近年来,对赌协议被广泛应用于上市公司的并购交易中,根据CSMAR数据库统计,2009—2021年上市公司累计发生的并购重组事件大约在5500起,这些并购案件中超过5000起使用了对赌协议。


对赌协议起源于美国资本市场,其内容与形式多种多样,但多数是以财务业绩作为对赌标的,以投融资双方所持股权作为给付内容,虽然对赌协议有利于并购的完成,但随着业绩对赌被广泛运用,很多公司都曾经吃过业绩承诺不达标的亏。


胜马财经获悉,1月30日,华软科技发布业绩预告,预计2022年归属于上市公司股东的净利润亏损约2.02亿元~3亿元。


这样的业绩表现对于依然身处业绩对赌期的华软科技来说,无异于一记重锤。公司在去年曾因2021年度业绩对赌未完成而发布致歉,同时在2021-2022年年底接连更换审计机构,华软科技到底还能完成对赌要求吗?



01

完不成的业绩对赌


故事要从三年多以前讲起。


2019年11月8日,华软科技会议通过了《关于<金陵华软科技股份有限公司发行股份及支付现金购买资产并募集配套资金暨关联交易预案>及其摘要的议案》等相关议案。


内容为,公司拟发行股份及支付现金购买北京奥得赛化学有限公司(以下简称“奥得赛化学”)股权并募集配套资金,并同意与交易对方签署《发行股份及支付现金购买资产协议》。


2020年4月23日,华软科技同意与交易对方签署《<发行股份及支付现金购买资产协议>的补充协议》,与补偿义务人签署《盈利预测补偿协议》,与控股股东舞福科技集团有限公司(更名前为华软投资控股有限公司)签署《非公开发行股票之认购合同》。


2020年8月19日,公司召开第五届董事会第十七次会议,审议通过了关于调整重组方案等相关议案,并与交易对方签署《<发行股份及支付现金购买资产协议>的补充协议之二》。


业绩承诺情况及补偿约定是什么样的呢?


根据公开信息,2020年4月23日,公司与奥得赛化学原股东即交易对方中的吴细兵、八大处科技、涂亚杰、申得兴投资(合称“业绩承诺方”)签订了《盈利预测补偿协议》。


具体来看,补偿义务人承诺,标的公司在2020年至2022年期间各年度实现预测净利润分别不低于人民币7650.00万元、9950.00万元和12150.00万元。


后来,公司称鉴于2020年新冠疫情全球爆发及持续蔓延的不可抗力因素的影响,2021年4月26日,公司与补偿义务人签署了《盈利预测补偿协议之补充协议》,对原业绩承诺进行了调整,业绩承诺调整后,补偿义务人承诺,奥得赛化学2020年、2021年、2022年期间年度实现的预测净利润分别为6200.00万元、10675.00万元、12875.00万元。


那么业绩对赌完成情况如何呢?


公司披露,2020年度,经容诚会计师事务所(特殊普通合伙)审计,奥得赛化学2020年实现的合并报表口径下扣除非经常性损益后的归属于母公司所有者的净利润为6209万元,超过了2020年度业绩承诺额6200万元,承诺净利润完成率为100.15%。



然而到了2021年度,经大华会计师事务所(特殊普通合伙)审计,奥得赛化学2021年实现的合并报表口径下扣除非经常性损益后的归属于母公司所有者的净利润为4342.33万元,未实现《盈利预测补偿协议》及《盈利预测补偿协议之补充协议》中2021年度的业绩承诺10675万元。


承诺完不成,那就得按照约定补偿。业绩承诺方为此补偿了2.86亿元。


在华软科技2022年度业绩预告中,公司表示,报告期内受宏观经济形势和疫情的持续影响,部分子公司工厂处于停产检修状态,相关子公司或资产组的盈利预期下降,已经存在减值迹象。


对于业绩对赌最后一年的业绩要求,奥得赛化学似乎又要制造新一轮尴尬局面。


02

频繁更换审计机构


上文中胜马财经曾提到,华软科技2020年度财报是由容诚会计师事务所(特殊普通合伙)审计,到了2021年,则变成大华会计师事务所。



而在2022年11月30日,华软科技再次变更审计机构。


公司公告称,变更会计师事务所的原因为:大华会计师事务所原主审会计师目前的时间和精力无法承接本公司 2022 年度审计项目。


也就是说,在华软科技业绩对赌期的2020-2022三年期间,公司以一年换一家的频率,聘任了三家审计机构。


事实上,国内会计师事务所确实有轮换要求,2004年,国资委发布《中央企业财务决算审计工作规则》,明确规定“同一会计师事务所承办企业年度财务决算审计业务不应连续超过5年”。


2011年,《关于会计师事务所承担中央企业财务决算审计有关问题的通知》中进一步明确“进入全国会计师事务所综合评价排名前15位且审计质量优良的会计师事务所,经相关企业申请、国资委核准,可适当延长审计年限,但连续审计年限应不超过8年”。


公开资料显示,在一份针对A股上市公司年报中相关会计所审计平均服务年限的统计中,2018年A股相关会计所审计服务的连续年限平均7.9年,2019年这一数字为7.4年,此后虽然略微变动,但审计机构在上市公司中的平均服务年限都远超5年。


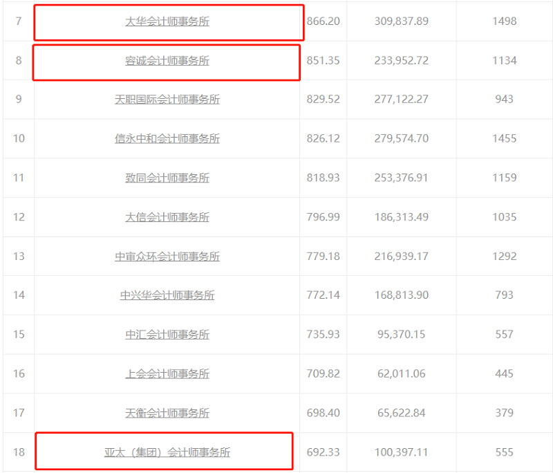
另据公开资料显示,去年9月,中国注册会计师协会发布了《2021年度会计师事务所综合评价百家排名信息》。其中大华会计师事务所位列第7、容诚会计师事务所位列第8,而亚太(集团)会计师事务所位列18。



在接受了两家综合评价排进前十的事务所审计工作后,华软科技选择了排在第18位的。


种种情况说明,华软科技频繁更换会计师事务所的行为,是存在反常的。



尤其是从时间上来看,一般来说公司年底扎帐以后年报审计正式开始,部分是春节后开始,主要时间是在从前一年年末到次年一季度前,年度报告就应该出来了。华软科技两次更换审计机构的时间都是靠近年底,时间上比较“突然”。

据会计师事务所人士透露,通常每年12月之前变更审计机构是比较合适的时间,很多程序还能正常执行,因为审计机构要在12月对上市公司进行预审,12月底执行存货监盘。


但也有在次年年报披露前更换审计机构的公司,这种情况一般是公司与审计机构本来准备继续合作,结果审计进点后发现某些重大事项双方未能达成一致意见,然后分道扬镳。


对于年末改聘审计机构的上市公司来说,其真正的换所动机,或许只有当事人自己清楚。



上一篇:恩捷股份2022年业绩预报:产销两端双向发力,降本增效抬升业绩

下一篇:“投资亏损”信披不完整,红豆股份遭监管警示,董秘、财务总监也被点名

Top